TCAP Routing Feature

 

The LLC can connect to a TCAP-enabled node in two ways:

Through the Matrix socket (Matrix host option using MTP)

Directly to the SS7 card I/O (local host option using TCP/IP)

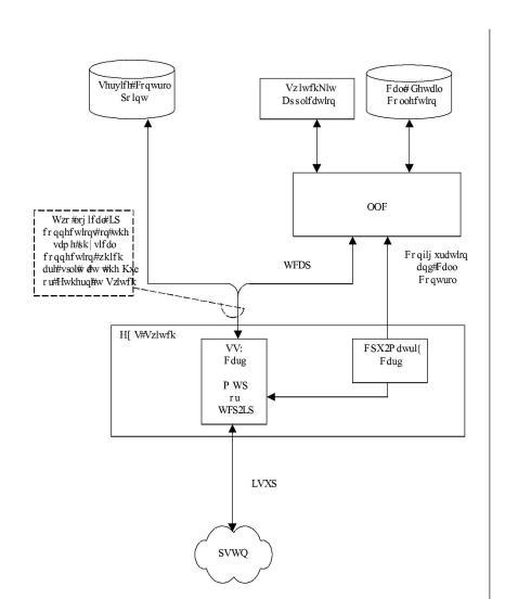
Figure 7-1

Local Host Option

TCAP Routing provides host support for the local host option. Messages can be routed from an LLC’s client application to a card level device contained within a node. Components, such as SS7 TCAP sockets, do not have unique logical node IDs. They share a node ID with a pre-assigned device and are uniquely identified by some other user-defined value. TCAP Routing provides LLC socket connectivity to those SS7 components. For example, messages sent to SS7 TCAP sockets will contain the same node ID as the CSP Matrix Series 3 card managing the chassis, but will be routed directly to the SS7 socket. That socket is uniquely identified by a RoutingID that is derived internally from a stack ID and an SSN for a redundant SS7 card pair.

TCAP Routing Supports SwitchKit Applications

TCAP Routing provides support for SwitchKit applications connected to the LLC to register for TCAP messages based on an originating point code (OPC), sub-system number (SSN) or Stack/SSN pair. When a PPL Event Indication message enters the LLC from the network, and the component ID is TCAP-specific (0x70), the message is routed to the "least busy" of the registered applications. For more information on how inbound TCAP routing is accomplished, see LLC: Application Load Balancing for TCAP. For more information on registering your applications, see sk_pplTCAPRegister() / sk_pplTCAPUnRegister() / ...OnConnection() functions in the SwitchKit Programmer’s Guide, Register Functions n .

Operating System Requirements

Windows NT®

Windows® 2000

Red Hat Linux, version 8.0

HP-UX, version 11.0

Solaris SPARC, version 8

Options supported

Routes messages at the card level without the logical node being specified by the application, based on a defined routing tag that is unique to the system (such as SS7 stack ID).

Supports redundant card pairs of the same card type..

Provides a means for registering applications for TCAP specific messages.

Sub-component Router

The sub-component router is a module within the LLC process that allows messages to be routed from an LLC’s client application to a card-level device contained within a node. That card is controlled by a CSP Matrix Series 3 card that has an assigned node ID. In other words, the card is controlled by that node. The generic requirements for sub-component routing are as follows:

The device must have a defined type which will be referred to as CardType.

The SS7 card must be controlled by a CSP Matrix Series 3 card that has been previously assigned a logical node and is already known by the LLC. This logical node is referred to as the ControlNode.

RoutingIDs are used to address a pair of card-level devices to ensure uniqueness across the system. Application developers should obtain RoutingIDs by using the defined macros provided through the SwitchKit API. See RoutingID Macros in the AddLLCCard message.

A logical node can contain several devices of a particular CardType, but can only contain one logical link for each set of devices addressed by a particular RoutingID.

Additional routing IDs can be added to an individual logical link by sending additional AddLLCCard messages.

Routing Outbound TCAP Messages

When sending an outbound message to a particular sub-component device, there is a subset of the SwitchKit API messages that the LLC routes or attempts to route. This subset is distinguished from other message by the CardType. The key concept here is: for the LLC to extrapolate the correct socket address, it must walk through the OutboundMessage and retrieve the predetermined unique RoutingID. It does this when the node ID of the message is set to 0xff (unassigned)and a TCAP socket has been added to the LLC for that CardType using an AddLLCCard message. For Outbound routing to be setup within the LLC the following are required:

The node must be added to the LLC using the AddLLCNode message.

The AddLLCCard message must be sent, one per RoutingID.

The SS7 card must be properly configured using the API message, SS7 SCCP/TCAP Configure 0x0077. The LLC requires that the stack be assigned and the Local Host (0xFE) or Matrix Host (0xFF) option be specified. Although the SS7 card defaults to the Matrix Host (0xFF) option, the LLC does not. You must specify one or the other. It is recommended that you delete the opposing option before adding the new.

Routing Inbound TCAP Messages

The following is required when attempting to register a SwitchKit application for TCAP specific messages:

The application must register for TCAP messages using one of two SwitchKit API functions:

sk_pplTCAPRegister

sk_pplTCAPRegisterOnConnection

Using SwitchManager

When using SwitchManager for configuration, you should use the AddSS7TCAPCard message instead of the AddLLCCard message.

Using CSA

TCAP Routing can be enabled in CSA from the SS7 Configuration view. When TCAP is enabled CSA will add an AddSS7TCAPCard message for each SS7 stack configured on that card. The remaining TCAP configuration should be done using the SS7 SCCP/TCAP configuration menu item. This configuration should be done for each stack. See the Converged Services Administrator User’s Guide for configuring SS7 TCAP Routing.