You are here: CSP Developer’s Guide: Overview > 10 Configuring Multi-Node Systems > Call Flows
Call Flows
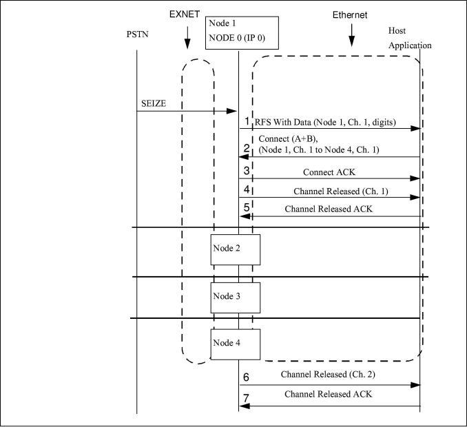
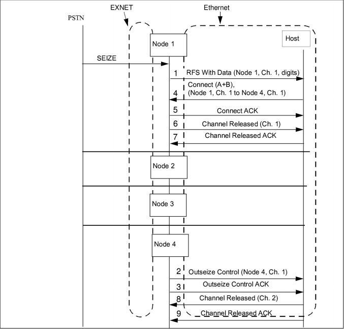
The following two examples illustrate how the host manages call control over the CSP.
Connect
Outseize Control and Connect