You are here: CSP Developer’s Guide: Common Channel Signaling > 8 ISDN > LAPD Functional Message Breakdown
LAPD Functional Message Breakdown
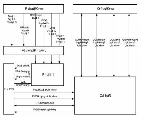
Overview
The figure below shows the messages and tasks for enabling Layer 2, the TEI management messages, and the interface to the host. All
Layer 2 messages to and from the local host are embedded in these two messages:
• PPL Event Indication
• PPL Event Request.
Figure 8-9 Input/Output Messaging