You are here: CSP Developer’s Guide: Overview > 5 Layer 4 Call Control > Call Control Call Flows
The following diagrams show basic call flows between Call Control and the Signaling layer. They illustrate basic concepts of the Signaling/ Call Control interface within the default, host-controlled call models.
The network signaling associated with each event is not shown, because it depends upon the specific network signaling protocol.
Outgoing call setup with call answering
The following call flow shows an example of outgoing call setup with call answering.
Outgoing call setup, rejected with Access Denied
The following call flow shows an example of outgoing call setup rejected by the Signaling layer using Access Denied.
Outgoing call setup, rejected with Access Denied and Clear Pending Flag set
The following call flow shows an example of outgoing call setup rejected by the Signaling layer using Access Denied with the Clear Pending flag set.
Incoming - Typical call flow, with messaging between CH and CM
The following call flow shows an example of a typical call flow. This call flow includes the messaging between the CH and CM components.
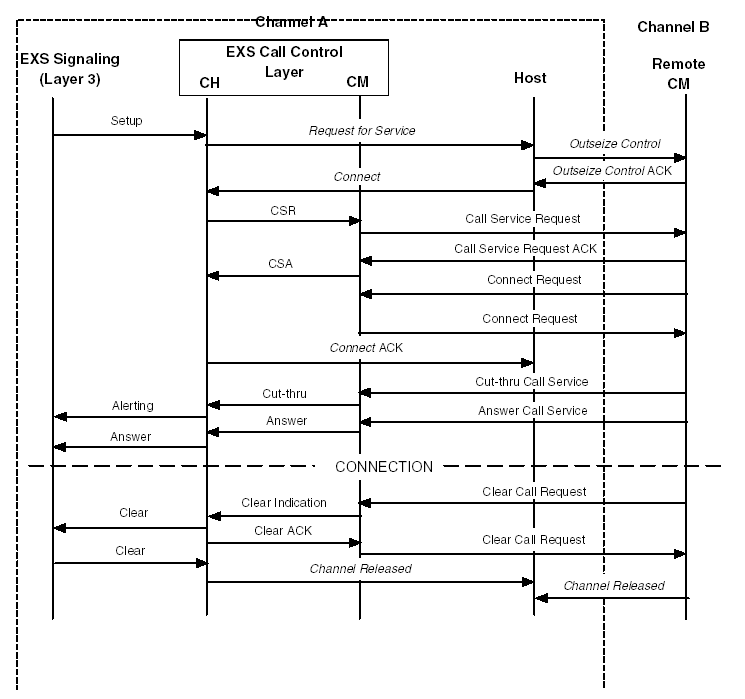
Request for Service, Outseize, and Cut-Through
The following call flow shows an example of a request for service followed by an outseize from the host and a subsequent cut-through.
Incoming call with messages alerting and answering
The following call flow shows an example of an incoming call that is alerted and answered through API messages.
Incoming call with propagated alerting and answer signaling
The following call flow shows an example of an incoming call that is connected to another channel (not shown), where alerting and answer signaling is propagated through the connection.
Network initiating release, with Disconnect event
The following call flow shows an example of a network-initiated release using the Disconnect event.
Network initiating release, with Clear event
The following call flow shows an example of a network-initiated release using the Clear event.
Host initiating release
The following call flow shows an example of a host-initiated release.
Release with Clear Connection Request from CM
The following call flow shows an example of a release with a Clear Connection Request sent by the CM component.