You are here: SwitchKit SNMP User’s Guide > 1 SNMP Introduction > SNMP Agent Overview
Overview
The SNMP User’s Guide describes the SNMP Agent for use with the Low-Level Communicator (LLC) of EXS SwitchKit. Throughout this document, the software is referred to as the SNMP Agent. The SNMP User’s Guide provides a brief introduction to SNMP, but it assumes that you have a basic knowledge of SNMP and network management.
The SNMP provides a way to control and monitor a variety of equipment using one network management protocol. To do this, SNMP uses a number of common Management Information Bases (MIBs) and some company-specific MIBs to allow vendors to provide specific information about the equipment being managed. A MIB is a collection of objects that can be accessed via SNMP. Dialogic includes a private MIB on your installation CD that provides information about the CSP. After you install the SNMP software, you can find the csp.mib in srconf/agt/csp.mib.
In May 1990, the Internet Engineering Task Force (IETF) published SNMPv1 in RFC1157. The security administration framework of SNMPv1 is based on the community model. This algorithm allows the agent and Network Management Station (NMS) to agree on a community string that is passed along for authentication, but this string is not encrypted or in any way protected. Following its publication, the IETF immediately formed a new working group to update SNMP to offer a more robust security administration framework. The working group was unable to settle on one standard, so two different standards emerged: SNMPv2c and SNMPv2. But neither of these standards addressed the security issue.
The NOTIFICATION-TYPE replaced the TRAP-TYPE from SNMPv1 and a new type of notification named INFORM was introduced to implement reliable event announcement between Network Management Stations. In 1998, the IETF published SNMPv3, which offers the features of SNMPv2c and user-based security. This security algorithm attempted to incorporate the best ideas of the SNMPv2c variants that had emerged in the mid-1990s.
The Dialogic SNMP MIB is defined according to RFC 2578 (Structure of Management Information (SMI) for Version 2 of SNMP), while the Dialogic SNMP Traps are defined in both RFC 1215 (version 1) format and RFC 1902 (version 2: see NOTIFICATION-TYPE).
The current release of the Dialogic SNMP Agent supports the ability to receive events and alarms from the CSP, and then create and distribute these as SNMPv1 notifications or SNMPv2c notifications. By default, SNMPv2c notifications are sent. You can edit the snmpd.cfg file so that SNMPv1 notifications can be sent. See System Customization. Part of the installation is the configuration file, snmpd.cnf, which defines the community strings and passwords that are currently valid for this agent. By default, any NMS running SNMPv1, SNMPv2c, or SNMPv3 can perform get or get-next queries using the community string public. By default, any NMS running SNMPv1, SNMPv2c, or SNMPv3 can perform set queries using the community string CSPAdmin.
Do not run the Network Management System (NMS) and the SNMP Agent software on the same system for any reason. As this diagram shows, the NMS and the Host system are separate physical systems connected by the network.
Do not run the SNMP Agent on a Windows® system that has or ever had HP OpenView installed.
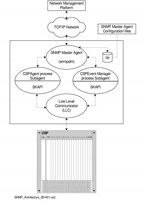
The following shows the flow of information between a Network Management System and devices being managed:
Figure 1-1
SNMP Setup Diagram
Initial requests for data are generated by the Network Management System (HP OpenView in this example). SNMP requests travel to the destination system (the host system in this example) where the SNMP master agent (snmpdm) receives them. The master agent sends the SNMP requests to the appropriate subagent (either CSPAgent process or CSPEventManager process) where the SNMP message processing occurs. Based on the information contained in the request, the subagent process either processes the request itself or requests information from the Low Level Communications (LLC).
Completed SNMP responses, successful or not, are routed back through the SNMP master agent (snmpdm) which is responsible for sending the response message back to the originating system.
When an event occurs on either the switch or host system that warrants outside notification, the CSPEventManager process subagent creates an SNMP notification and sends it to the master agent. The master agent then forwards the SNMP notification to the configured destination(s).
Supported Operating Environments
EXS SwitchKit Run-time Environment
The table that follows shows the operating systems and versions supported by EXS SwitchKit in a run-time environment.
Table 1-1 Operating System Requirements
|
Operating System |
EXS SwitchKit is supported on... |
|---|---|
|
Solaris |
Version 8.0 for the SPARC platform |
|
Windows NT® |
Version 4.0, service pack 5 or greater |
|
Windows® 2000 |
Windows® 2000 |
All of the cards included with this CSP release are recognized by the SNMP Agent and have alarms associated with them. When you do a "get" of cspCardType, you generate a response, for example ds3 (31). See the file csp.mib. Common card groups within cspHardware contain objects representing the card. Highly specialized cards, such as: the CSP Matrix Series 3 Card, EXNET-ONE, T-ONE, E-ONE, DS3, SS7, ISDN and VDAC; contain specific groups within the cspProtocol group.