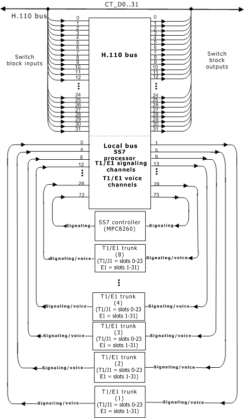
CompactPCI TX switch model

The following illustration shows the switch model for CompactPCI TX boards: