This topic describes the ways in which you can change the TX 4000C board configuration:
TX 4000C DIP switches are located on the component side of the board, as shown in the following illustration:

DIP switch S4 enables you to hot swap the TX 4000C into an older CompactPCI chassis. By default, the eight switches of DIP switch S4 are set to the OFF position. For normal board operations, do not modify any of the S4 switch settings.
When switches M66 and PCIX are in the OFF position, the board is compliant with the CompactPCI Hot Swap Specification PICMG 2.1 R2.0. The board polls M66EN# and PCIXCAP# signals on the backplane during a Hot Swap insertion. If PCIXCAP# is logic high on the backplane, the TX 4000C board does not boot, and the blue Hot Swap LED remains illuminated until the PCI bus is reset. After a reset or during a cold boot, the TX 4000C board drives PCIXCAP# low and boots.
To hot swap the TX 4000C board into an older CompactPCI chassis that does not comply with the CompactPCI Hot Swap Specification PICMG 2.1 R2.0 requirements for PCIXCAP# and M66EN#, change switch M66 and switch PCIX to the ON position. Some older CompactPCI chassis do not have M66EN# and PCIXCAP# implemented correctly causing these signals to be high, even though the bus is not running PCI-X at 66 MHz. When switch M66 and switch PCIX are in the ON position, the board ignores M66EN# and PCIXCAP#. The board then boots, regardless of the state of the bus.
|
Caution: |
Use caution when setting switch M66 and switch PCIX to the ON position. Setting these switches to the ON position causes the TX 4000C board to be non-compliant with the Hot Swap specification. The board can disrupt the PCI bus if it is hot swapped into a system with the bus segment running at PCI-X or at the wrong speed. |
DIP switch S5 controls the operation of the board. By default, only switch 2 (AUTO) is set to the ON position; all other S5 switches are set to the OFF position. Switch 5 is reserved for future use. Do not modify the settings for this switch.
SS7 Monitor mode enables a TX board to become a passive listening device that monitors network traffic. When Monitor mode is disabled, the TX board is an active participant in the network.
The rear I/O transition board has eight jumpers with installed shunts that control the SS7 Monitor mode. The jumpers are located on the solder side of the board beneath the board cover. By default, SS7 Monitor mode on the TX board is disabled and all of the shunts are installed. The following illustration shows a rear I/O transition board with SS7 Monitor mode disabled:

To enable SS7 Monitor mode:
Remove the solder side cover from the rear I/O transition board by removing the two screws and releasing the press pins.
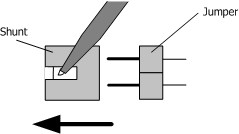
Remove the shunt from each of the eight jumpers
with a small pointed object, such as a pen. Gently insert the point of
the object into the small shunt opening, as shown in the following illustration,
and disconnect it by moving the shunt away from the jumper.

For information about connecting the monitoring server (with an installed TX board) to the network and installing the SS7 Monitor software, refer to the SS7 Monitor Developer's Reference Manual and to the SS7 Monitor Installation instructions.