PPL Environment

 

The PPL environment is designed into the switch system software, integrating custom PPL-generated state tables with system software residing on PPL-controlled components on each card. The developer has the ability to determine which call processing events are processed by the switch and how the switch responds to the events.

API messages manage PPL components

PPL components are configured and managed using the PPL API messages. The API messages allow you to modify PPL timers, Config Bytes, transmit signaling (E1), event indications and requests, and more.

PPL Composer

All components are configurable with the PPL Composer, allowing you to modify protocol state machines to conform to variants. The default *.ppl and *.exl files for components that are released for custom programming with the CSP system software. If you require modification of unreleased PPLs, contact Dialogic Technical Support.

In addition to the default protocols, up to 10 custom protocols can be stored per component and assigned on a per object basis. The default protocols can be modified using the PPL Composer.

Each PPL component has a default protocol (or protocols), timers, Config Bytes, and EXL (atomic function/event library). The timers and Config Bytes are programmable using API messages.

Example

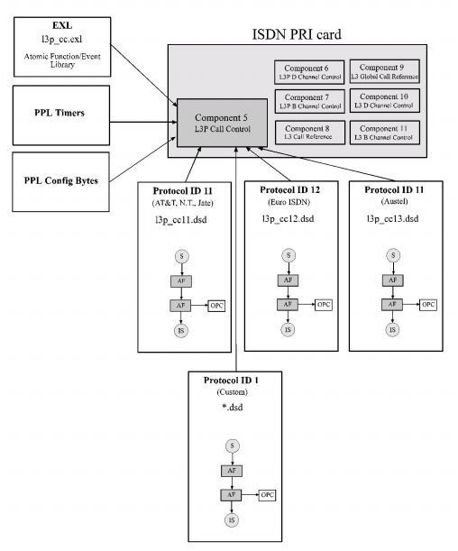
PPL Environment uses the ISDN PRI card to illustrate the PPL environment. The Layer 3 Plus Call Control component (5) has three default protocol variants for the three connection types supported by the ISDN PRI card (Protocol IDs 11, 12, and 13). All three variants use the same timers, Config Bytes, and EXL. Using the PPL Composer, another protocol could be created (Protocol ID 1-10) and downloaded to the switch, and selectively assigned to objects.

Diagram

Figure 1-3 PPL Environment

 

Switching between protocols

The ability to switch between several PPL protocols is provided by AF 2, which invokes a primitive resulting in the channel using a new set of protocol tables. It is the responsibility of the "secondary" protocol to return to the primary protocol (protocol assigned to the channel).

Figure 1-4 Switching Between Protocols