You are here: CSP Developer’s Guide: Common Channel Signaling > 2 Introduction to SS7 > MTP3-to-Host Functionality
MTP3 Components
Most of the changes required to support the MTP3-to-Host functionality reside on the CSP itself. This functionality is made possible with the following MTP3 components:
• HMDT - Message Distribution
• HMRT - Message Routing
• TSFC - Traffic Signaling Flow Control
When an SS7 user part is activated for a remote host then the destination of the message can be any one of several remote hosts. This option is configurable using the PPL Configure message.
The figure below show a high-level of each host connecting to the SS7 and Matrix Controller card. The solid arrows from the MTP3 to user parts in the SS7 card show the default message flows from the MTP3. The dashed arrow shows the message flow from the MTP3 if any of the user parts are made remote.
Figure 2-15 Message Flow
Data Flow
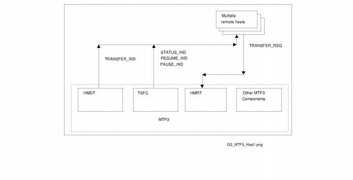
Data Flow Between Components and Host below shows the data flow between MTP3 components and the remote host. The dashed line represent MTP3 components in the CSP.
Figure 2-16 Data Flow Between Components and Host
The HMDT component of MTP3 will use new configuration bytes to allow you to program which SS7 user parts will remain local to the CSP and which user parts will reside in a remote host. The default is that all the user parts reside on the CSP.
Configuration Bytes 0x24-0x26 are used to indicate the port number of the remote host for the corresponding user part. For example, if user part in Configuration Byte 0x19 is set to 0x02 (remote host), then Configuration Byte 0x24 will give the port number of the remote host. The default value of these bytes is 0xFF.
The new PPL event indication from the HMDT component to the host reports TRANSFER IND and sends the corresponding data to the host.
The new PPL event indications from the component TSFC to Host report the STATUS of a DPC or PAUSE and RESUME indications for an affected DPC.