You are here: CSP Developer’s Guide: Overview > 10 Configuring Multi-Node Systems > In-Service Upgrades
This section explains the procedures and contingencies for adding components to an active multi-node or single-chassis CSP.
Adding an EXNET Ring to Stand-alone Chassis
You can create a multi-node CSP from two or more stand-alone CSPs by adding EXNET hardware to each node without affecting existing calls on any nodes.
1. Add EXNET hardware to each node
• EXNET-ONE
• Fiber optic cable
2. Assign Logical Node IDs to each node (Assign Logical Node ID)
3. Configure the EXNET ring (EXNET Ring Configure)
• Assign Logical Ring ID to each node
• Configure Transmit/Receive Mode of each node
4. Bring the ring in service (Service State Configure)
• This message only needs to be sent to one node to bring the entire ring in service
Calls can now be connected across nodes.
The procedure for adding a node is the same for a redundant or non-redundant EXNET ring configuration. However, adding a node to a non-redundant ring configuration causes some inter-nodal calls to purge while the ring resets.
See also Adding a Node to a Multi-Node System (7-60) in the EXS SwitchKit Converged Services Administrator (CSA) User’s Guide for instructions on completing this procedure with CSA.
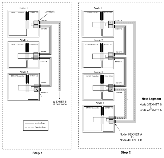
Adding a Node to a Non-redundant EXNET Ring
Follow the steps below to add a node to a non-redundant ring configuration. This procedure assumes the configuration explained in the section Configure Transmit/Receive Mode. For this example, assume that the EXNET ring is assigned Logical Ring ID 1.
1. Disconnect the EXNET ring where necessary.
2. Disconnect the fiber optic cable from the EXNET B port of the node that will be adjacent to the new node. The system is placed in loopback mode and all connections are maintained.
3. Make the EXNET connections to the new node.
4. Configure the node as follows:
• Establish the Ethernet connection.
• Download the system software.
• Re-establish the socket connection.
• Assign Logical Node ID.
• Configure CSP options on the node, if necessary (EXS Node Configure).
• Assign Logical Ring ID 1 to the ring (EXNET Ring Configure).
5. Configure the Transmit/Receive Mode of the ring (EXNET Ring Configure).
When the Transmit/Receive Mode is configured, the EXNET ring resets and comes back in service. All inter-nodal calls are purged during the reset.
Adding a Node to a Redundant EXNET Ring
Follow the steps below to add a node to a redundant ring configuration. This procedure assumes the configuration shown in Adding a Node to an EXNET Ring. For this example, assume that the EXNET rings are assigned Logical Ring IDs 1 and 2.
1. Disconnect the EXNET ring where necessary: Disconnect the fiber optic cable from the EXNET B port of the EXNET-ONE cards in the node that will be adjacent to the new node (both Ring 1 and Ring 2). Both rings are placed in loopback mode and all connections are maintained.
2. Make the EXNET connections to the new node for both rings
3. Configure Node
• Establish the Ethernet connection
• Download the system software
• Re-establish the socket connection
• Assign the Logical Node ID
• Configure CSP options on the node, if necessary (EXS Node Configure)
4. Configure Ring 1
• Assign Logical Ring ID 1 to the EXNET-ONE that is attached to Ring 1 (EXNET Ring Configure)
• Configure the Transmit/Receive Mode of Ring 1 (EXNET Ring Configure)
Ring 1 resets and comes in service with the new node attached. All inter-nodal calls are maintained on Ring 2 while Ring 1 is resetting.
5. Configure Ring 2
• Assign Logical Ring ID 2 to the EXNET-ONE that is attached to Ring 2
(EXNET Ring Configure).
• Configure the Transmit/Receive Mode of Ring 2 (EXNET Ring Configure). Ring 2 resets and comes in service with the new node attached. All inter-nodal calls are maintained on Ring 1 while Ring 2 is resetting.
Figure 10-11 Adding a Node to an EXNET Ring