You are here: SwitchKit TCAP Interface User’s Guide > 1 Introduction to SwitchKit TCAP Interface API > SwitchKit TCAP API Architecture
SwitchKit TCAP API Architecture
The SwitchKit TCAP application resides on the host and communicates over TCP/IP with the Excel platform. SwitchKit TCAP application components include the following:
• SwitchKit Interface Module (SKIM) TCAP API
• SwitchKit TCAP Abstraction Layer (SKTAL)
• SwitchKit API library
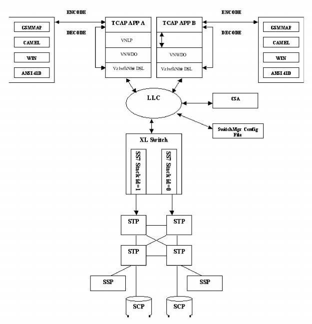
Application developers can use the SwitchKit Interface Module (SKIM) to speed up development. SKIM provides an API to abstract services from the TCAP and SCCP layers to a transaction-based application. The SKIM API abstracts details of the SS7 TCAP protocol. The SKIM provides some error handling, abstracting TCAP from the error handling. The SKIM must keep track of active dialogues, invoke IDs, operation types, and operation codes.
The SwitchKit TCAP Abstraction Layer ( is used to create a generic view of the TCAP layer, so that the underlying stack can be used with the TCAP C++ API. The SKTAL API allows the SwitchKit TCAP user to easily interface with Intelligent Network (IN) application layer protocol APIs (GSM-MAP, ANSI-41, WIN, and CAMEL) provided by IntelliNet Technologies Inc.
The Switchkit API is a library of function calls used to communicate to both the LLC and the Excel platform. In SKIM and SKTAL Architecture both the TCAP Abstraction Layer and the application must communicate with the SwitchKit API. Although the Excel platform can be used as a signaling-only platform, its strength is in using it for IN and ISUP signaling and for media resources. An application must communicate with the SwitchKit API in order to handle ISUP traffic and to control DSP resources in the Excel platform.
Key Features of SwitchKit TCAP APIs
SwitchKit TCAP API provides a simple C++ interface to EXS TCAP. SwitchKit TCAP APIs hide details of PPL messages from the user application.
• SwitchKit TCAP API allows the user application to communicate with multiple stack instances.
• SwitchKit TCAP API provides message sanity checking and error handling at the host.
• SwitchKit TCAP API enables user applications to easily integrate with IntelliNet's user part APIs such as GSM-MAP, CAMEL, WIN, ANSI-41, AIN, and INAP.
• The SwitchKit TCAP API provides interface functions that take ASN.1 encoded information from IntelliNet user part APIs for populating TCAP operation parameters. TCAP operation parameters received using SwitchKit TCAP API can be decoded using user part APIs.
Diagram
Figure 1-1 SKIM and SKTAL Architecture