Configure M3UA entities after calling M3UAMgmtInit. You must configure M3UA entities in the following order:
The following illustration shows the local and remote configuration for a SIGTRAN architecture consisting of two IP server processes (IPSPs):

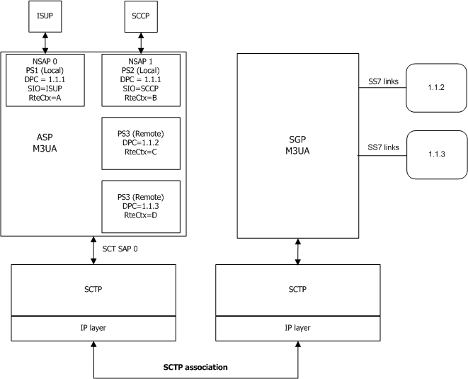
The following configuration shows the local and remote configuration for a SIGTRAN architecture consisting of an application server process (ASP) and a signaling gateway process (SGP):

For information about the initial configuration of M3UA, see the Dialogic® NaturalAccess™ Signaling Software Configuration Manual.
General configuration parameters define and control the general operation of the signaling point (SP) implemented by the SS7 software. The configurable attributes for the general M3UA configuration include the:
Maximum number of other configurable elements (such as NSAPs) to control memory allocation
Congestion level attributes
Timer values
Define the general parameters for M3UA once at board download time, before you configure the other M3UA entities. To define the general parameters, follow these steps:
|
Step |
Action |
|
1 |
Call M3uaInitGenCfg to initialize the general configuration parameter structure (M3UAGenCfg) to default values. |
|
2 |
Change the parameter values, as appropriate. |
|
3 |
Call M3uaSetCfg to set the configuration. |
After the general configuration is defined, you can optionally change the values for the congestion level and timer parameters. To change these parameter values, follow these steps:
|
Step |
Action |
|
1 |
Call M3uaGetGenCfg to obtain the current general configuration values. |
|
2 |
Change the parameter values, as appropriate. |
|
3 |
Call M3uaSetGenCfg to set the configuration with the specified values. |
You must download the board again to change any of the other general configuration parameters. For more information, see M3uaInitGenCfg, M3uaSetGenCfg, and M3UAGenCfg.
Network configuration parameters define the types of networks in which the M3UA layer is used. The configurable attributes of a network include the:
Network identifier
Network appearance
Subservice field (SSF)
DPC length
SLS length
Service user variants
Define network types after you define the general M3UA configuration parameters. In most applications, a single network configuration is sufficient. However, if you use multiple network types (such as ANSI and ITU) in the same node, define one network configuration for each network type. You can define multiple network configurations up to the maximum number of networks (MAX_NETWORK) allowed by the general configuration parameters definition.
To define a network configuration, follow these steps:
|
Step |
Action |
|
1 |
Call M3uaInitNwkCfg to initialize the network parameter structure (M3UANwkCfg) to default values. |
|
2 |
Change the default values, as appropriate. |
|
3 |
Call M3uaSetNwkCfg to set the configuration with the specified values. |
You must download the board again to change the network configuration parameters. For more information, see M3uaInitNwkCfg, M3uaSetNwkCfg,and M3UANwkCfg.
The M3UA SCT service access point (SCT SAP) configuration parameters define the interface between the M3UA and SCTP layers. The configurable attributes in an SCT SAP include the:
M3UA identifier for the SCT SAP
Source port
SCTP identifier for the SCT SAP
Define the SCT SAP for the M3UA layer right after you define the M3UA network configuration parameters. You can define only one SCT SAP, whose identifier must be 0.
To define an SCT SAP configuration, follow these steps:
|
Step |
Action |
|
1 |
Call M3uaInitSctSapCfg to initialize the SCT SAP parameter structure (M3UASCTSapCfg) to default values. |
|
2 |
Change the default values, as appropriate. |
|
3 |
Call M3uaSetSctSapCfg to set the configuration with the specified values. |
You must download the board again to change the SCT SAP configuration parameters. For more information, see M3uaInitSctSapCfg, M3uaSetSctSapCfg, and M3UASctSapCfg.
M3UA network service access point (NSAP) configuration parameters define the SS7 applications, such as ISUP, SCCP, and TCAP, that use M3UA. The configurable attributes of NSAPs include the:
NSAP identifier
Logical network identifier
Type of NSAP service user
Define NSAPs for the M3UA layer after you define the SCT SAP configuration parameters. You can define up to the maximum number of NSAPs (MAX_NSAP) allowed by the general configuration parameters definition.
To define an NSAP configuration, follow these steps:
|
Step |
Action |
|
1 |
Call M3uaInitNSapCfg to initialize the NSAP parameter structure (M3UANSapCfg) to default values. |
|
2 |
Change the default values, as appropriate. |
|
3 |
Call M3uaSetNSapCfg to set the configuration with the specified values. |
You must download the board again to change the network configuration parameters. For more information, see M3uaInitGenCfg, M3uaSetNSapCfg,and M3UANSapCfg.
M3UA peer signaling process configuration parameters define a peer signaling process for the M3UA layer. The configurable attributes in a peer signaling process include the:
Peer signaling process identifier
Remote peer signaling process type (signaling gateway process or IP signaling process)
Optional message field requirements
Remote association attributes
Define peer signaling processes for the M3UA layer after you define the M3UA NSAP configuration parameters. You can define up to the maximum number of peer signaling processes (MAX_PSP) allowed by the general configuration parameters definition.
To define a peer signaling process configuration, follow these steps:
|
Step |
Action |
|
1 |
Call M3uaInitPspCfg to initialize the peer signaling process parameter structure (M3UAPSPCfg) to default values. |
|
2 |
Change the default values, as appropriate. |
|
3 |
Call M3uaSetPspCfg to set the configuration with the specified values. |
After a peer signaling process configuration is defined, you can optionally change the values for some of the peer signaling process parameters, as described in M3UAPspCfg. To change these parameter values, follow these steps:
|
Step |
Action |
|
1 |
Call M3uaGetPspCfg to obtain the current peer signaling process configuration values. |
|
2 |
Change the parameter values, as appropriate. |
|
3 |
Call M3uaSetPspCfg to set the configuration with the specified values. |
You must download the board again to change any of the other peer signaling process configuration parameters. For more information, see M3uaInitPspCfg, M3uaSetPspCfg, and M3UAPspCfg.
The M3UA peer server configuration parameters define a peer server for the M3UA layer. The configurable attributes in a peer server include:
Peer server identifier
Peer server network identifier
Whether the peer server is local or remote
Routing context
List of peer signaling processes defined for this PS
Define peer servers for the M3UA layer after you define peer server processes. You can define up to the maximum number of peer servers (MAX_PS) allowed by the general configuration parameters definition.
To define a peer server configuration, follow these steps:
|
Step |
Action |
|
1 |
Call M3uaInitPsCfg to initialize the peer server parameter structure (M3UAPSCfg) to default values. |
|
2 |
Change the default values, as appropriate. |
|
3 |
Call M3uaSetPsCfg to set the configuration with the specified values. |
After a peer server configuration is defined, you can optionally change the values for some parameters, as described in M3UAPsCfg. To change these parameter values, follow these steps:
|
Step |
Action |
|
1 |
Call M3uaGetPsCfg to obtain the current PS configuration values. |
|
2 |
Change the parameter values as appropriate. |
|
3 |
Call M3uaSetPsCfg to set the configuration with the specified values. |
You must download the board again to change the other peer server configuration parameters. For more information, see M3uaInitPsCfg, M3uaSetPsCfg, and M3UAPsCfg.
The route configuration parameters define a route for the M3UA layer. The configurable attributes in a route include the:
Route identifier
Route type (local user or peer server)
NSAP identifier associated with the route, for local (inbound) routes
Route filter configuration
Define routes for the M3UA layer after you define the peer servers.
To define a route configuration, follow these steps:
|
Step |
Action |
|
1 |
Call M3uaInitRteCfg to initialize the route parameter structure (M3UARteCfg) to default values. |
|
2 |
Change the default values, as appropriate. |
|
3 |
Call M3uaSetRteCfg to set the configuration with the specified values. |
You must download the board again to change the route configuration parameters. For more information, see M3uaInitRteCfg, M3uaSetRteCfg, M3UARteCfg.