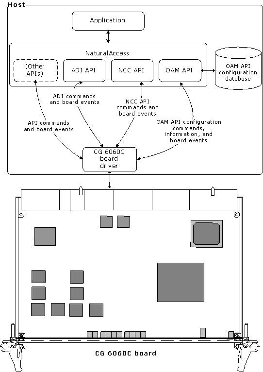
NaturalAccess is a development environment that provides such services as call control, system configuration, and voice store and forward. CG 6060C boards require the following software components that are available with NaturalAccess:
NaturalAccess OAM API (Operations, Administration, and Maintenance) software and related utilities.
Configuration files that describe how the board is set up and initialized.
Runtime software and drivers that control the CG 6060C board.
One or more trunk control programs (TCPs) that enable applications to communicate with the telephone network using the signaling schemes (protocols) on the trunk.
The NaturalAccess OAM API manages and maintains the telephony resources in a system. These resources include hardware components (including CG boards) and low-level board management software modules (such as clock management).
Using the OAM API, you can:
Create, delete, and query the configuration of a component.
Start (boot), stop (shut down), and test a component.
Receive notifications from components.
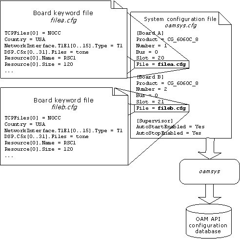
The OAM API maintains a database containing records of configuration information for each component as shown in the following illustration. This information consists of parameters and values.

Each OAM API database parameter and value is expressed as a keyword name and value pair (for example, Clocking.HBus.ClockMode = MASTER_A). You can query the OAM API database for keyword values in any component. Keywords and values can be added, modified, or deleted.
Before using the OAM API or any related utility, verify that the NaturalAccess server (ctdaemon) is running. For more information about ctdaemon, refer to the Dialogic® NaturalAccess™ Software Developer’s Manual. For general information about the OAM API and its utilities, refer to the Dialogic® NaturalAccess™ OAM System Developer’s Manual.
The OAM API uses the CG board plug-in module to communicate with CG boards. The name of the CG plug-in is cg6kpi.bpi. This file must reside in the \nms\bin directory (or /opt/nms/lib for UNIX) for OAM to load it when it starts up.
The OAM API uses two types of configuration files:
File type |
Description |
|---|---|
System configuration |
Contains a list of boards in the system and the names of one or more board keyword files for each board. |
Board keyword |
Contains parameters to configure the board. These settings are expressed as keyword name and value pairs. |
Several sample board keyword files are installed with NaturalAccess. You can modify reference these files as needed and then reference them in your system configuration file.
The following illustration shows the OAM configuration files:

When you run oamsys, it creates OAM database records based on the contents of the specified system configuration file and board keyword files. It then directs the OAM API to start the boards, configured as specified.
Refer to Configuring and starting the system with oamsys for more information.
The runtime software is stored in a run file on the host computer. CG 6060C boards download the run file, cg6060core.ulm, directly into SDRAM when the boards boot up using the OAM API. This file is installed in the \nms\cg\load directory.
DSP files enable the CG 6060C on-board DSPs to perform certain tasks, such as DTMF signaling, voice recording, and playback.
Several run files and DSP files are installed with NaturalAccess. Specify the files to use for your configuration in the board keyword file. Refer to Using board keyword files for more information.
CG 6060C boards are compatible with a variety of PSTN signaling schemes, called protocols. A trunk control program (TCP) performs all of the signaling tasks to interface with the protocol used on a channel. TCPs run on the board, relieving the host computer of the task of processing the protocol directly.
Several different protocol standards are in use throughout the world. For this reason, different TCPs are supplied with NaturalAccess. Each TCP supports various country-specific variations.
For applications that support multiple protocols simultaneously, you can load more than one TCP at a time. Specify the TCPs in the configuration file. The OAM API downloads the specified TCPs to the board. For more information about TCPs, refer to the Dialogic® NaturalAccess™ CAS API Developer's Manual .
NaturalAccess is a complete software development environment for voice applications. It provides a standard set of functions grouped into logical services. Each service has a standard programming interface. For more information about standard and optional NaturalAccess services, refer to the Dialogic® NaturalAccess™ Software Developer’s Manual.
The following illustration shows the NaturalAccess software environment as it relates to the OAM API software and CG 6060C hardware:
