You are here: CSP Developer’s Guide: Common Channel Signaling > 8 ISDN > Optional Information Elements
Overview
Dialogic provides a format to send and receive Information Elements (IEs) per D channel. The data is represented using Information Control Blocks (ICB) with the ICB subtype of "Formatted IEs" (see Information Control Blocks in the API Reference). This allows flexibility when sending a message that has different types of data to transport. Multiple Formatted IEs can be loaded in the data section of the ICB.
APIs support IEs
The following API messages support the Formatted IE ICB:
• Request For Service with Address Data
• Outseize Control
• PPL Event Indication
• LPPL Event Request
• Release with Data
• Channel Release Request
Information Elements
The IE data is defined by the IE type. You can load multiple Formatted IEs in the data section of the ICB. Formatting specific IEs makes it easier for host development code to parse and create messages to pass specific data. The Raw IE ICB subtype is formatted similarly, however, it consists of the exact IEs to be sent.The format of the Formatted IEs ICB is shown in the table below.
|
ICB Count |
0x01 |
|
ICB Type |
0x02 (Data) |
|
ICB Subtype |
0x10 (Formatted IE) |
|
ICB Data Length |
User-defined |
|
ICB Data[0] Number of IEs To Follow |
User-defined |
|
ICB Data[1] IE Type |
User-defined |
|
ICB Data[2] IE Length |
User-defined |
|
ICB Data[3] IE Data[0] |
User-defined |
|
ICB Data[4] IE Data[1] |
User-defined |
|
ICB Data[4] IE Data[2] |
User-defined |
|
ICB Data[4] IE DATA[3] |
User-defined |
Information Element Library
To implement overlay networks or proprietary applications, the IE library allows you to store commonly used IE data. The library loads specific ISDN messages during call processing to reduce host message traffic.
There is a separate IE library for each active D channel on the ISDN card. The IE library contains a maximum of 30 library entries, and each entry is a maximum of 30 bytes. Each IE library entry can hold multiple IEs including codeset 6 and 7 IEs. IEs can be any type.
IE Restrictions
The following restrictions apply to the contents of an IE library entry
• The IE lengths must coincide with total length of data to be stored.
• The total length of the entry must be 30 bytes or less.
• The length specified internally for the IEs must be consistent.
Configuration
Use PPL AF 70 in the L3P Call Reference component to insert an IE Library into an outgoing ISDN message. The first argument is the IE library entry number to insert in the ISDN message.
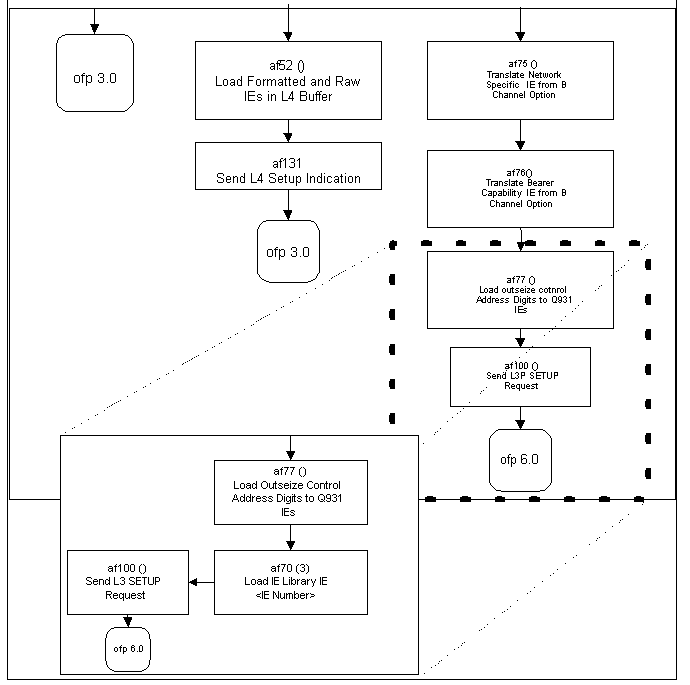
L3P Call Reference DSD - Page 1 shows page 1 of the L3P Call Reference State Machine modified to use AF 70 to insert the IE into the outgoing SETUP message to the network. The first argument is the IE Library entry number (3). in the ISDN Interface Configure message example.
Use the ISDN Query message to retrieve the contents of the IE library. The IE library is stored in battery backed RAM.
L3P Call Reference DSD - Page 1 shows page 1 of the L3P Call Reference State Machine (l3p_cc). In the modified insert, AF 70 has been added after AF 77, with Argument 1 indicating IE Number 3. This inserts the IE into the outgoing SETUP message to the network.
Figure 8-6 L3P Call Reference DSD - Page 1
Examples
The following example shows an ISDN Interface Configure message used to load an IE library entry. Use the ISDN Query message to retrieve the contents of the IE library.
|
Byte |
Description |
Value and Indication |
|---|---|---|
|
0 |
0xFE |
|
|
1, 2 |
Length |
0x0020 (32) |
|
3, 4 |
Message Type |
0x00B2 |
|
5 |
Reserved |
0x00 |
|
6 |
Sequence Number |
0xSN |
|
7 |
Logical Node ID |
0x01 |
|
8 |
AIB |
0x00 (Single Entity) |
|
9 |
Number of Address Elements |
0x01 |
|
10 |
Address Element Type |
0x0D (Channel) |
|
11 |
Address Data Length |
0x03 |
|
12, 13 |
Address Data[0,1] Logical Span |
0x0001 (Span 1) |
|
14 |
Address Data[2] Channel |
0x17 (Channel 23) |
|
15 |
Entity |
0x0B (Load IE Library Entry) |
|
16 |
Data[0] Entry Number |
0x04 |
|
17 |
Data[1] IE Type |
0x01 (Q.931 IE) |
|
18 |
Data[2] Total IE Length |
0x0E (14) |
|
19 |
Data[3] IE Data |
0x70 (Called Party Number IE) |
|
20 |
Data[4] IE Data |
0x0C (Length of Called Party) |
|
21 |
Data[5] IE Data |
0xA1 (National number, ISDN Numbering) |
|
22 |
Data[6] IE Data |
0x31 (Digit 1) |
|
23 |
Data[7] IE Data |
0x35 (Digit 5) |
|
24 |
Data[8] IE Data |
0x30 (Digit 0) |
|
25 |
Data[9] IE Data |
0x38 (Digit 8) |
|
26 |
Data[10] IE Data |
0x38 (Digit 8) |
|
27 |
Data[11] IE Data |
0x36 (Digit 6) |
|
29 |
Data[12] IE Data |
0x32 (Digit 2) |
|
30 |
Data[13] IE Data |
0x33 (Digit 3) |
|
31 |
Data[14] IE Data |
0x30 (Digit 0) |
|
32 |
Data[15] IE Data |
0x30 (Digit 0) |
|
34 |
Data[16] IE Data |
0x30 (Digit 0) |
|
35 |
Checksum |
0xCS (not shown in trace) |